精密儀器儀錶在多功能測量設備、現場服務、自動測試以及研發和校準實驗室等應用中扮演著重要角色。 ADI憑藉超過50年的專業積累和豐富經驗,以客戶挑戰為出發點,設計了一套完整精密技術信號鏈,提供全面的硬體、軟體和固件集成解決方案。
本文重點介紹了四款先進儀器儀錶解決方案:精密阻抗測量模組、超低失真信號分析儀模組、低延遲開發套件和數位控制高壓 SMU。 ADI利用現成可用的平臺和尖端積體電路設計技術,提供給客戶良好的、高性能參考設計和電路板或模組級解決方案,幫助客戶降低研發成本,加快研發進度。
表1顯示了部分ADI儀器儀錶解決方案,這些產品均在官網上發佈。

表1. 儀器儀錶解決方案一覽表(按儀器儀錶細分市場羅列)
ADMX2001:阻抗量測分析儀模組
阻抗是許多測試項目中用來評估品質的關鍵指標。透過量測複阻抗,可以了解元件在不同頻率下的特性,有助於品質控管、濾波器設計、元件健康狀態檢測、特性表徵,以及評估元件是否符合系統需求。
一般數位萬用電表(DMM)雖然能量測電阻,但只能取得阻抗的實部,無法提供同時包含實部與虛部的完整複阻抗資訊,也通常無法量測電容或電感。
複阻抗量測對許多應用至關重要,常見的量測項目包括:
-
電感:量測全頻率範圍內的電感變化、找出諧振頻率、損耗、直流偏壓對電感的影響,並評估寄生效應。
-
電容:在不同頻率與交流激勵條件下量測電容量,確認等效串聯電阻(ESR)、品質因素(Q Factor)、損耗因數(D Factor),以評估不同頻率下的損耗行為。
-
電阻:分析在頻率變化下寄生電容與電感造成的影響。
-
二極體:透過頻率掃描搭配交流激勵與直流偏壓,可在二極體的 VI 曲線各點進行量測。
-
MOSFET:量測在不同頻率下的柵極電阻 Rg。
-
電化學阻抗分析(EIS):利用複阻抗量測分析電化學系統的行為。
圖 1 所示的應用案例由 Hioki 提出,利用頻率掃描的電阻與電抗資訊來判斷電池健康狀態。透過 Nyquist 圖比較電阻與電抗,可清楚看出劣化電池與正常電池在阻抗上的差異。

圖1. 鋰電池的EIS
ADMX2001 阻抗分析儀模組有效解決阻抗設計中的多項挑戰。其運作方式是產生正弦激勵訊號並施加至被測物(DUT),透過量測交流電壓、交流電流的幅度與兩者之間的相位差,取得複阻抗(Complex Impedance)。
根據這些量測資料,可以推算多種阻抗格式,包括極座標阻抗、幅度/相位,以及矩形座標的電阻與電抗。
模組也支援內建顯示模式,可直接計算電容、電感、耗散因數(D Factor)、品質因數(Q Factor)等多種結果格式。
ADMX2001 最高 10 MHz 的激勵頻率大幅擴展可量測的 DUT 範圍,也能評估高頻寄生效應與頻率響應行為,例如自我諧振頻率(SRF)。可程式設定的直流偏壓讓電解電容、二極體與 MOSFET 的量測更方便,而交流激勵幅度可搭配掃頻取得。
模組內建校正記憶體,典型校正後的量測精度可達 0.05%。提供 UART 介面與直覺化控制方式,也具備 SPI 介面,方便整合至大型量測系統。模組尺寸為 1.5" x 2.5"(38 mm x 63.5 mm)。
ADMX2001 讓高性能阻抗量測系統的導入更簡單,提供 DC 至 10 MHz 的完整量測方案,主要特點與優勢如下:
-
韌體持續更新,提升效能並加入新功能:能快速回應客戶需求,支援客製化應用。
-
量測頻率最高達 10 MHz,比一般整合式方案快近兩個數量級:提升量測靈敏度與測試頻寬,滿足無源元件與半導體測試需求。
-
可設定量測範圍,支援 100 μΩ 至 20 MΩ:涵蓋主流台式阻抗分析儀的完整量測範圍。
-
0.05% 儀器級量測精度:提升量測品質並提升產線測試的良率與一致性。
-
提供電容/電感/電阻/阻抗/導納等多種結果格式,並具備校正記憶功能與演算法支援:無須另外外接非揮發性記憶體或編寫計算程式。
-
支援頻率掃描與 DC 偏壓掃描:適用於半導體的阻抗頻譜分析與 C-V 量測。
-
4-端子開爾文量測與夾具補償演算法:有效降低引線與治具寄生效應,提高量測準確度。
圖 2 為 ADMX2001 的框圖。模組採單一 3.3V 供電,可直接連接 DUT。內部整合專用電流與電壓採樣 ADC、精密正弦激勵產生器、時脈產生電路、阻抗計算與校正邏輯,以及數位介面。
這些整合設計,大幅簡化系統導入。透過最佳化的頻寬、雜訊抑制、隔離度與阻抗靈敏度,ADMX2001 能為客戶提供卓越的量測效能。

經過校準的150pF電容精度測試
圖3是ADMX2001的測試結果,左邊部分是實測數據,右邊部分是根據準確值所列出的誤差,在此容值下具有0.01%以內的高精度。 採用DUT 150pF 1% 0603 SMD NP0的電容進行測試,參考值是151.23pF。

圖3. 150pF電容精度測試
18650 鋰離子電池 EIS 量測案例
圖 4 為一顆典型 3.7V 18650 鋰離子電池的 EIS(電化學阻抗分析)量測結果。左側顯示的是電阻(Real)與電抗(Imag)隨頻率變化的曲線;將這兩項數據合併繪製到右側的 Nyquist 圖(奈奎斯特圖)後,即可得到完整的阻抗軌跡,用來判斷電池的健康狀態與劣化程度。

圖 4 18650 鋰離子電池 EIS 量測結果
相比其他整合式方案,ADMX2001 在多項指標上具有明顯優勢。表 2 提供一個比較範例,其中以綠色標示的部分代表 ADMX2001 的典型強項,包括量測頻率範圍、靈敏度以及精度等。
表 2 ADMX2001 與其他方案比較

評估板 EVAL-ADMX2001EBZ LCR
圖 5 為 ADMX2001 的評估板。透過此評估板可:
-
展示 ADMX2001 作為桌上型 LCR 表與阻抗分析儀的功能。
-
利用 UART 介面,透過終端機軟體(如 PuTTY、Tera Term)進行操作與資料讀取。
-
UART 採用常見連接線,可相容並輕鬆連接至多種平台:包括 Windows、macOS、Linux、樹莓派、Arduino…等。

圖 5 EVAL-ADMX2001EBZ LCR 評估板
超低失真波形產生器 ADMX1002 / ADMX1001
若需測試音訊領域相關指標,例如 總諧波失真(THD)、訊雜比(SNR)、無雜散動態範圍(SFDR) 等,即需要使用超低失真的訊號產生器。
主要原因是:測試設備的性能必須顯著優於被測物(DUT),通常至少要好 10 倍以上,才能準確量測超低雜訊或超低失真的元件。
這類應用包括:
-
ABC 類型耳機
-
麥克風
-
智慧型裝置
-
助聽器
-
其他需要高訊號純度的音訊設備
若客戶特別重視輸出訊號的失真、尖峰(Spurs)或斜率(Slew Rate)等細節,低失真訊號產生器便是最合適的選擇。
ADMX100x 系列是一款小型、超低失真訊號產生器,可用於:
-
實驗室工作臺
-
整合至需要靜態且高純度訊號源的大型測試系統
相較於桌上型儀器通常附加許多額外功能(如藍牙、HDMI 介面等),若測試系統不需這些功能,只需要乾淨且高品質的訊號源,ADMX100x 會是更有效率且更具成本效益的替代方案。
如圖 6 所示,其可大幅縮小系統體積並降低整合複雜度。

圖6. 桌上型儀器等級的失真、解析度與低雜訊性能,濃縮於迷你化尺寸中
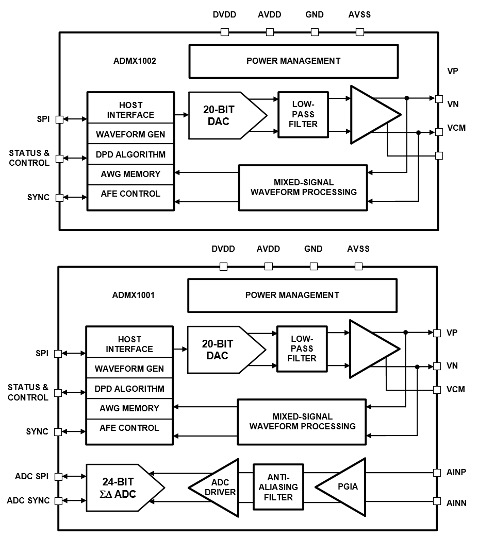
圖 7 顯示 ADMX1002 / ADMX1001 的系統框圖,主要包含:
-
記憶體
-
電源管理
-
精密參考電源
-
精密 DAC
-
ADC
-
訊號調理電路(Signal Conditioning)
韌體(Firmware)部分整合:
-
DPD(數位預失真, Digital Pre-Distortion)演算法
-
數位預時序(Digital Predistortion Timing / Pre-Frame)演算法
模組內建 16 組波形模式,可透過 SPI 輕鬆控制。
20-bit DAC 經由訊號調理輸出波形,並透過回授進行 DPD 的預失真修正。

圖 7 ADMX1002 / ADMX1001 系統概述
ADMX1002 / ADMX1001 的特色與優勢
ADMX1002 / ADMX1001 解決了「超低失真、低雜訊任意波形產生器」與「訊號分析系統」的設計挑戰,具備以下特性與優勢:
-
總諧波失真(THD)可達 -130 dBc
其失真水準比一般 DDS、CODEC 低兩個數量級以上,也比高階音訊 DAC 至少好 2 倍:
→ 可支援下一代 ADC 與高解析度音訊系統的測試需求。 -
真正的 20-bit 任意波形產生器(AWG)
能輸出 DC 訊號與自訂波形:
→ 一台設備即可滿足測試 / AC / DC / Ramp / 隨機訊號(語音、聲音)等所有需求。 -
內建最多 16 組波形儲存於非揮發性記憶體
→ 事先載入波形,測試切換快速且穩定。 -
全差分 3.6 VRMS 輸出,支援可調共模電壓
→ 可直接相容現代高解析度 ADC 的差分輸入端。 -
內建正弦波、雙音(Two-Tone)、直流模式
→ 不需額外操作即可輸出常用訊號。 -
可程式化的單端與差分輸入量測(僅限 ADMX1001)
→ 能建構完整的頻譜分析與失真分析系統。 -
SPI 控制採精簡指令集(Simple Command Set)
→ 使用容易,甚至能由低功耗 MCU 操控。 -
60 mm × 40 mm 高度整合模組
→ 專為大批量、可嵌入式測試系統所設計,小尺寸便於整合。
表 3 顯示 ADMX100X 相較於一般桌上型儀器的關鍵性能差異。
突出的優勢包括:
-
THD 低至 -130 dB
-
DC 穩定度優於 5 ppm
-
支援 16 種波形儲存
-
20-bit 高解析度輸出
-
體積小,易於整合至高密度測試系統
表 3 ADMX100X 與其他產品的關鍵效能比較

EVAL-ADMX100X-FMCZ 開發板
圖 8 為 ADMX100X 任意波形產生器的開發板,可實現以下功能:
-
示範 ADMX1002 作為桌上型任意波形產生器的完整能力
-
提供差分輸入,以支援 ADMX1001 的訊號擷取功能
-
板載迴授(loopback)切換,用於自我檢測(限 ADMX1001)
-
透過直覺式的 GUI 介面存取大部分設定
-
透過腳本工具,可輕鬆控制並自動化各類訊號產生工作

圖8 EVAL-ADMX100X-FMCZ 訊號產生器
低延遲開發套件(LLDK)CN0584/5
在評估複雜系統時,通常需要多台儀器同步運作,包括即時軟體、函數產生器、混合域示波器、DAQ 資料擷取設備與整體控制系統。
建立這類複雜平台往往需要大量設備,整合上也相當具挑戰性。
ADI 的 LLDK(Low-Latency Development Kit)低延遲開發套件正是為了解決這些挑戰而設計,提供能夠無縫整合多種儀器與流程的完整方案。
LLDK 結合已驗證的硬體模組與軟體堆疊,形成一套完整的資料擷取與信號產生開發平台。
LLDK 評估板整合了板載電源軌、電壓監測、邏輯電平轉換、通用 I/O、I²C、SPI 及專用介面,並透過 FMC-LPC 連接至 FPGA。
ADI LLDK 特點
LLDK 是一套高精度、低延遲的資料擷取與數位信號處理解決方案,適用於複雜系統的原型設計,具備以下特色:
-
經過驗證的硬體、數位模組與軟體堆疊,可建構精密低延遲系統
-
內建 4 個 ADC 與 4 個 DAC,皆具 16-bit 解析度
-
支援 4 路同步輸入與 4 路同步輸出,適合複雜模型建構
-
模擬端至端延遲最低可至 200 ns:
-
ADC 端對精密類比訊號的完整擷取低於 70 ns
-
DAC 可快速產生全振幅類比輸出
-
-
支援差分類比輸入、單端類比輸出,並具備寬電壓保護
-
提供 Python、Linux(含 Device Tree)等開源工具,方便使用
圖9 為 CN0585 評估板,採用 ADI 最新精密 ADC/DAC 技術。使用者可透過更換板上 0 歐姆電阻切換 I/O 電壓範圍(預設 ±10V),並在 LLDK 上測試多種信號處理功能,例如 DDS、FFT、濾波、開關控制等。

圖9. EVAL-CN0585-FMCZ評估板
LLDK 提供軟體支援與開放原始程式碼
LLDK 系統包含即用型軟體套件,使用者可開箱即用。關於軟體操作的詳細說明,可參考 CN0584 介面專門文件。
-
對於系統新手,如果希望輕鬆實現資料可視化,可在電腦上安裝 IIO 示波器,該工具可在時域與頻域讀取 ADC 採集的數據,並透過 DAC 輸出預先生成的波形以供軟體檢查。
-
若需要更多自訂功能,例如生成不同頻率與振幅的正弦波,可使用 Python 腳本 控制。使用者也可以利用板上實際數據進行演算法驗證,並執行各種訊號處理,包括 FFT 濾波與數位預失真(Digital Predistortion, DPD)等演算法。
-
若希望在板載 FPGA 上開發自己的設計或數位訊號處理(DSP)功能,亦可使用與平台無縫整合的 HDL 編碼器 與模擬工具(SIM)進行開發與驗證。

LLDK 低延遲與快速建立時間示例
圖 10 示範了具備低延遲與快速建立時間的解決方案示例。使用任意波形發生器輸出正弦波信號後,訊號分為兩路:一部分送入 LLDK 輸入,另一部分連接示波器作為參考。這種配置可用來比較 LLDK 系統數位化後的訊號,經 FPGA 處理後再轉回類比訊號。輸出連接至示波器另一通道,透過適當放大比例,可在螢幕上清楚觀察到兩個幾乎相同的波形,其中一個略微落後於另一個。示波器量測的總延遲約為 250 ns,包括模數轉換(ADC)、FPGA 處理及數模轉換(DAC)的時間。

圖10. 具有低延遲與快速建立時間的解決方案
LLDK 模擬輸入與輸出的精密性能
右上角圖示比較了 LLDK 輸出訊號與參考訊號。黃色頻譜軌跡表示 LLDK 模擬輸出的一個 ±10 Vpp、100 Hz 正弦波信號。將其與桌上型波形發生器在相同設定下產生的信號比較,可看出 LLDK 的波形在信號純度上表現優異,諧波水準遠低於 -100 dB。
右下角圖示為 1 kHz 正弦波的類比輸入頻譜,可觀察到一個與基頻偏移數 kHz 的強雜散峰值。結果顯示,1 kHz 音調的無雜散動態範圍(SFDR)可達 -110 dB。
在實驗室工作臺上重現上述結果非常簡單。LLDK 附帶開源 Python 腳本,用於訊號採集與輸出生成。使用者可藉由此腳本調整輸出訊號的頻率與振幅,以檢查訊號生成部分的精度與純度。

圖 11 LLDK 數位模組與 IP 範例
LLDK 提供的數位模組和 IP 元件可以顯著加速客戶的評估與開發速度,所有這些功能區塊 (Function Blocks) 皆已在各種應用場景中證實有效,無論是獨立使用還是應用於 LLDK 平台 。圖 12 和圖 13 展示了五種元件的應用範例 。
第一個元件是直接數位頻率合成器 (DDS)。 透過合成波形,可以在單一 DAC 通道或所有四個同步通道上產生現成可用的正弦波形以及任意波形 。DDS 採用使用者指定的振幅、頻率和相位輸入,然後在 4 個 DAC 通道中的 2 個通道上輸出正弦波形,並進行反相 (Invert) 後在其他 2 個 DAC 通道上輸出 。
第二個元件採用數位預失真 (DPD) 演算法,旨在透過回授系統實現超低諧波失真。透過板載 ADC,它從 DAC 擷取 DDS 輸出,分析其諧波成分 (Harmonic Tones) 並應用抵消訊號對 DDS 中的合成訊號進行預失真處理。與原始訊號相比,諧波被有效地消除了 。

圖 12 數位模組與 IP 範例(1)
第三個元件是 PID 控制器,是由比例 (Proportional)、積分 (Integral) 和微分 (Derivative) 子模組組成的回授系統。控制器為每個部分獲取使用者指定的參數,執行比例縮放、積分和微分運算,然後將組合結果饋送至受控體 (Plant) 或程序 。閉迴路 PID 控制器透過受控體的輸出被回授至回授路徑。藉由運作中的 PID,最終輸出的過衝 (Overshoot) 得到了很好的抑制 。
第四個元件是 DDS 和訊號混頻器的組合調變,實現了混頻器功能,接收 ADC 輸入和 LLDK 的 DDS 來建立混合輸出。在此範例中,DDS 產生的 20kHz 正弦訊號(此處未顯示)與 ADC 擷取的 10kHz 訊號(藍色顯示)混合 。混合輸出(以青色顯示)攜帶 2 個頻率成分:10kHz 和 30kHz 。在混頻器中,這兩個訊號實際上是相乘運算。在頻率方面,它們的載波頻率在最終產物中被相加和相減 。
第五個元件是 FIR 低通濾波器和高通濾波器等數位濾波器,它們可以方便地插入數位前端鏈中,用於基本的訊號調節 (Signal Conditioning) 。
以上五種範例只是 ADI 團隊經過實作驗證的一部分。當然,LLDK 不僅限於這些功能,客戶可以利用 Simulink 和 HDL Coder 根據需求對客製化訊號區塊和系統進行原型製作 。

圖 12 數位模組與 IP 範例(2)
總結來說,低延遲開發套件(LLDK)是一個功能強大的平台,提供高精度與低延遲的性能。16bit 的 ADC 與 DAC 可方便進行數位模組的擴充與訊號處理。套件提供完整的 FBA 介面,包括 HDL 代碼固件與 Python 程式介面,方便客戶快速開發與整合。
其低延遲與高精度特性,使 LLDK 適用於各種應用場景,例如雷射控制、音訊測試、ECU 電機控制、電子轉向系統、電子懸吊系統,以及駕駛輔助系統(DMS)等領域。
SMU 解決方案 ADMX3001
ADMX3001 是一款 4 通道、±100 V、±1 A 的源測量單元(SMU)系統解決方案。在電子測試領域,SMU 與一般電源同樣扮演關鍵角色,但兩者功能不同:傳統電源主要提供簡單的電壓或電流輸出,無法滿足高階測試環境對精密度與準確度的需求,也缺乏對電壓與電流的精密控制能力。
隨著測試需求越來越精細與複雜,傳統電源在精度、準確度以及應對多樣化操作條件上常常力不從心,因此 SMU 方案應運而生,專門解決高精度與複雜測試需求。ADMX3001 支援完整的四象限操作,具備快速穩定時間,可實現更快速、更精準的測量,並提高生產效率。
與標準電源相比,SMU 的獨特之處在於將源與測量功能高度整合,克服了傳統電源在精密測試應用上的限制,特別適用於需要高精度控制的場景。
應用挑戰:
-
高精密度與高準確度
-
支援四象限操作
-
快速建立時間
應用目標:
-
半導體測試
-
桌上型測試系統
-
元件特性分析
ADMX3001 主要規格
ADMX3001 配備四通道的 VI 源,每個功能通道可提供 ±100 V 的輸出,並支援三個電壓等級:±1 V、±10 V、±100 V;電流範圍則涵蓋 1 μA 至 1 A。整體板子尺寸為 5.5" × 10"(約 14 × 25 cm),緊湊設計並搭載數位 PID 控制器,可在各種負載下維持安全且穩定的操作。ADMX3001 支援完整四象限操作,如圖 13 所示。直流輸出可達 100 V、10 mA,脈衝輸出可達 100 V、1 A。使用者可依實際需求調整輸出電壓與電流範圍。四個通道可並聯使用,最大可提供 4 A 電流。為確保在嚴苛環境下的操作安全與可靠性,ADMX3001 內建多項保護機制,包括電壓/電流鉗位限制以及自動關機功能。

圖13. 四象限工作示意
如圖 14 所示,ADMX3001 可與 FPGA(如 Xilinx KCU105)搭配使用,固件燒錄於 FPGA 上,板間透過 FMC 介面連接。電路板布局採用大型電感與電容組成高壓電源軌,高壓放大器則置於大型散熱器與風扇下方,以避免過熱。所有輸出均具備箝位二極體保護。

圖14. ADMX3001連接示意圖
系統的整體方塊圖如圖15所示,其中最重要的三個元件是 ADC——AD4630-24、DAC——AD3552R 和高壓放大器 ADHV4711。AD4630-24 是一款 24 位元 (24-bit) 2Mbps SAR ADC,負責進行電壓和電流感測訊號的高精度採集,以確保系統的精確度;AD3552R 是一款雙通道 16 位元 (16-bit) 高精度快速 DAC,確保快速響應;ADHV4711 是一款高速高壓大電流(1A 220V)運算放大器,具備 1A 標稱輸出電流驅動能力,以及數位可編程故障偵測功能(OC、OV、OT)。
SMU 的運作原理是:透過負回授迴路控制高壓輸出,經由 ADC 測量取樣將其轉換為數位訊號,再由 PID 控制器處理數位測量值以計算控制量,接著 DAC 將控制訊號轉換為類比訊號並傳送到高壓放大器的輸入端,最後由高壓放大器對訊號進行放大處理。

圖15. ADMX3001方塊圖
表4是ADMX3001與其他方案的對比,在精度、解析度上都有相當的優勢。
表4 ADMX3001與替代方案的性能比較

階躍響應:滿刻度擺幅
圖 16 展示了 ADMX3001 全電壓擺幅的三個階躍響應 :第一個是 200V 階躍,在 34.4 µs 上升時間內電壓由 -100V 升至 100V ;第二個是 20V 的階躍,在 27.5 µs 的上升時間內電壓由 -10V 上升至 10V ;第三個是 2V 的階躍,在 14.4 µs 時電壓由 -1V 上升至 1V 。
不同的階躍響應可以透過 PID 來控制上升時間 。可以看出整個曲線沒有過衝、乾淨且快速 。

圖16. 階躍響應:滿刻度擺幅
透過數位控制進行動態調整
穩定性和響應時間在精密電子產品中至關重要,調整 PID 係數(參數)可以控制上升時間、最小化過衝 (Overshoot)、減少振鈴 (Ringing),避免不穩定。圖 17 左圖 10µF 電容器的波形圖顯示了反衝、振鈴和阻尼影響,PID 調校協助系統實現了穩定。
電源軌的自動調整是透過動態調整電源電壓將功耗降至最低,進而提高了能源使用效率。自動電源軌調整增強了系統靈活性,允許在沒有人工介入的情況下在不同電壓準位間無縫切換,不僅提高了整體效率,還降低了設計的複雜性。

圖17. 透過數位控制進行動態調整
多種輸出模式
-
脈衝模式 (Pulse Mode): 提供具備精確定時控制的高功率脈衝,使 ADMX3001 能在直流安全工作區 (SOA) 之外運作 。此模式支援的脈衝寬度範圍為 100 ms 至 100 µs 。允許進行高速或暫態 (Transient) 測試,例如在 1A、100V 輸出和 1% 工作週期 (Duty Cycle) 的條件下,SMU 可有效地提供短時間的高功率脈衝 。同樣地,1A 下的 10V 輸出搭配 10% 工作週期,顯示了 SMU 能根據不同的功率準位和脈衝持續時間進行調整,以滿足各種測試需求 。
-
組合模式 (Gang Mode): 允許 1 至 4 個通道並聯,以增加電流和電壓驅動能力 。透過通道並聯,可實現最大 4A 的電流和最大 100V 的電壓 。這種模式對於需要更高功率的應用,或是同時測試大電流與電壓的元件特別有助益 。

圖18. 兩種輸出模式
安全/保護特性
箝位 (Clamp) 和關斷 (Shutdown) 等安全功能對於保護 ADMX3001 和被測元件 (DUT) 至關重要。
箝位功能允許使用者設定電壓和電流的特定限制,確保 ADMX3001 在操作過程中不會超過這些臨界值 (Threshold)。此功能有助於防止可能損壞敏感元件或 SMU 本身的意外過電壓或過電流情況。
關斷功能透過使 ADHV4711 在達到設定的最大限值時自動切換到高阻抗 (High-Z) 狀態,增加了額外的保護層。
透過實施這些安全機制,使用者可以自信地進行測試,同時將損壞風險降至最低,並確保設備和測試系統的完整性。

圖19. 安全及保護特性
ADI 重視解決方案的推廣,提供了多樣靈活的支援方式,包含 BOM、電路圖 (Schematics)、佈局 (Layout) 在內的參考設計,以及以 PCB/模組形式出售的完整硬體和軟體;並能攜手聯合開發客製化方案 。
小結
以上內容主要探討了 ADI 阻抗分析模組、超低失真波形產生器、低延遲開發套件和 SMU 精密儀器解決方案 。根據具體應用需求打造合適的解決方案,為每個解決方案提供了專業技術支援,協助客戶在開發過程中實現更快且更具成本效益的設計成果 。ADI 的精密儀器解決方案能應對各種關鍵挑戰,以解決客戶痛點為前提,攜手克服困難,幫助設計者開發出具有競爭力的產品 。
您可能也有興趣的文章:
實現真正的低雜訊數位擷取的EVAL-ADMX6001開發板
聯繫我們
安馳科技官方Line:https://page.line.me/?accountId=anstek
線上諮詢表單:https://www.macnica.com/apac/anstek/zh_tw/contact-us/contact-us/
影片YT資源:https://www.youtube.com/channel/UC3zxOPnkygvZUwe4is23DKQ